Compact Multi Channel Oscilloscope (EJ05 - ECE342 - W24)

C++
Soldering
Arduino
Embedded Systems
PCB
Junior Design

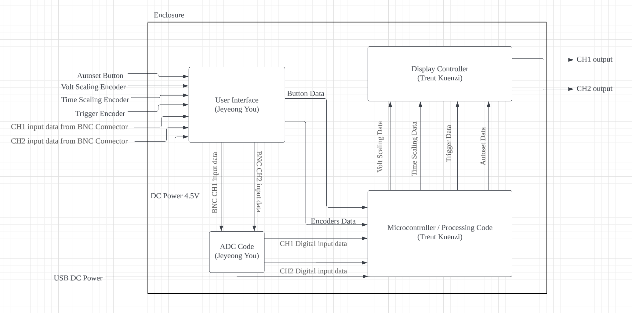
Our 'Compact Multi-Channel Oscilloscope' enables signal analysis in electronic circuits. Equipped with robust connectors, two probes connect and disconnect from the system, with each channel accommodating signals within the range of -1.0 volts to +1.0 volts, employing voltage division and DC bias methods to maintain the signal within the microcontroller's operational limits, not exceeding 3.2 volts. Following signal acquisition, the Analog-to-Digital Converter (ADC) transforms analog signals into digital format for processing by the microcontroller. The microcontroller's processing unit performs various functions such as voltage scaling, time scaling, trigger setting, and auto-set functionalities, all customizable based on user input. Intended to operate at a sampling rate of up to 1 MHz, the system offers adjustable time and voltage axes, and trigger capabilities for waveform analysis. Additionally, the system dynamically adjusts the voltage scale to accommodate varying signal amplitudes, ensuring accurate measurements. With button responsiveness within 20 milliseconds, users can interact with the system swiftly. Output from Channel 1 and Channel 2 is displayed on an LCD screen, providing real-time waveform visualization. Implemented using a Teensy 4.1 microcontroller and an LCD display, the system delivers efficient and reliable performance in signal analysis applications. During our project, we successfully obtained the signal value from the function generator and adjusted it to fit the correct range. Moreover, with thorough code processing, we managed to sample, auto-set, and scale voltage and time effectively. However, a notable challenge arose when attempting to capture a video, as our display ceased functioning. This necessitated a thorough inspection of our microcontroller, PCB, and display. For future students, we recommend capturing a video of performance promptly upon confirming system functionality. Additionally, for future improvements, we plan to enhance the stability of our signal circuit by integrating an op-amp in our circuit. Without a op amp, the microcontroller adc probes pulled our signal down slightly, causing slight distortion of the signal. Although we achieved the correct range value without utilizing an op-amp, incorporating one would enhance stability and mitigate any impact from the microcontroller. So, we strongly recommend future groups utilize an op-amp to stabilize the circuit's signal further. Future areas of improvement would also include increased voltage input values and a high sampling rate.

0 Lifts 

Artifacts

Name Description
Executive Project Summary This is the executive summary of our team project. It includes our team's approach to the project and, the overall design process, and lessons that we learned from the project.   Link
Project Video This is overall our project video.   Link
Feedback