Tachyon FPGA Card 2019-20

FPGA

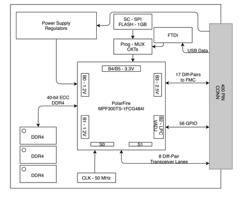
The Tachyon FPGA Card is a VNX form-factor compute module redesigned from an existing PolarFire FPGA Splash kit. Our tasks in this project were to write an in-depth user guide detailing every aspect of the new card and to alter the schematic to fit the compact design. We removed unnecessary components, added a VNX specified 400-pin connector, re-connected signals to proper locations, and implemented new components necessary to meet the standard requirements. This card serves as a stepping stone for future designs, and will be used in future aerospace applications.

1 Lifts 

Awards

Artifacts

Name Description
Tachyon FPGA Card Schematic OrCAD schematic of the Tachyon FPGA Card.   Link
User Guide Tachyon FPGA Card User Guide.   Link
Project Website Google site with all of the project's information.   Link
File Repository Contains project artifacts and information.   Link
Project Summary Video Video that highlights the main features of the system.   Link
Feedback